Am 7. August sorgte ein Patent, das Nintendo bereits im Februar 2024 eingereicht hatte, für ordentlich Gesprächsstoff in den sozialen Medien. Der Grund: Es zeigt ein mögliches Zubehör für Joy-Con-Controller, das tatsächlich eine Handkurbel enthält.
Am 7. August sorgte ein Patent, das Nintendo bereits im Februar 2024 eingereicht hatte, für ordentlich Gesprächsstoff in den sozialen Medien. Der Grund: Es zeigt ein mögliches Zubehör für Joy-Con-Controller, das tatsächlich eine Handkurbel enthält.
Ob dieses skurrile Konzept jemals den Sprung von der Zeichenplatte in unsere Wohnzimmer schafft...
Laut Patent könnte das Zubehör auch einen Maus-Sensor enthalten, der mit den Switch-2-Joy-Con-Maussensoren interagiert. Diese befinden sich an den Seiten der Controller und ermöglichen bereits jetzt einen „Mausmodus“ für ausgewählte Spiele, darunter Mario Paint in der SNES Nintendo Classics App.
Titel wie Drag X Drive (wo Mausmodus sogar Pflicht ist) und Metroid Prime 4: Beyond (optional nutzbar) bieten ebenfalls die Unterstützung. Mit der Handkurbel ließen sich so unter anderem Angelspiele oder Minispiele mit ungewöhnlichen Steuerungen umsetzen.
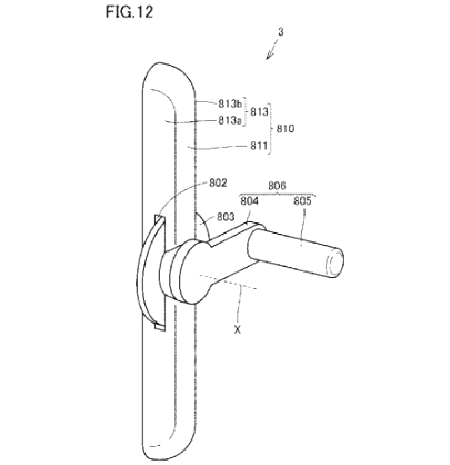
Das Patent zeigt, dass die Kurbel seitlich an einem Joy-Con angebracht wird und sich vollständig drehen lässt. Sie wäre zudem abnehmbar, sodass Spieler sie nur dann befestigen, wenn sie wirklich gebraucht wird. Die Verbindung zum Maus-Sensor deutet darauf hin, dass sie präzise Bewegungen ins Spiel übertragen könnte, egal ob fürs virtuelle Fischen oder andere, noch unbekannte Gameplay-Ideen.

Das eingereichte Patent von Nintendo
Wer jetzt denkt: „Kurbel am Controller? Das gab’s doch schon mal!“, liegt richtig. Die kleine Handheld-Konsole Playdate von Panic, den Machern von Firewatch und Untitled Goose Game, setzte bereits auf eine Kurbel als Haupt-Feature für bestimmte Indie-Spiele. Auch bei Angelspielen kamen schon öfter Drittanbieter-Kurbel-Controller zum Einsatz.

Die Playdate-Konsole von Panic
Wie bei allen Nintendo-Patenten gilt: Nur weil es eingereicht wurde, heißt das nicht, dass es auch produziert wird. Angesichts steigender Preise für Konsolen und Zubehör bleibt abzuwarten, ob die Joy-Con-Kurbel jemals über das Papierstadium hinauskommt oder ob sie einfach als kurioser Eintrag in Nintendos langer Liste an verrückten Ideen bleibt.
Wir verwenden Cookies, um Ihr Browsing-Erlebnis zu verbessern, personalisierte Anzeigen oder Inhalte bereitzustellen und unseren Traffic zu analysieren. Durch Klicken auf "Alle akzeptieren" stimmen Sie der Verwendung von Cookies zu.
Wir verwenden Cookies, um Ihr Browsing-Erlebnis zu verbessern, personalisierte Anzeigen oder Inhalte bereitzustellen und unseren Traffic zu analysieren. Durch Klicken auf "Alle akzeptieren" stimmen Sie der Verwendung von Cookies zu.
Diese Cookies sind für das Funktionieren der Website erforderlich.
Diese Cookies helfen uns zu verstehen, wie Besucher mit unserer Website interagieren.
Diese Cookies werden verwendet, um Ihnen relevante Anzeigen zu zeigen.
Kommentare: 0
Einen Kommentar schreiben